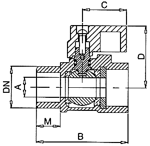
Art.2310
Minigömbcsap KB



Technikai adatok
DN A
(mm)
B
(mm)
C
(mm)
D
(mm)
M
(mm)
1/4" 6 36 22 26 8
3/8" 8 42 22 28 11
1/2" 10 46 22 30.5 12