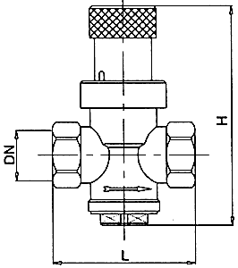
Art.5500
Víznyomáscsökkentő



Technikai adatok
DN L
(mm)
H
(mm)
1/2" 60 93
3/4" 60 93