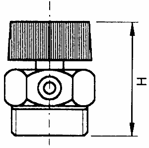
Art.5700
Légtelenítő kézi



Technikai adatok
DN H
(mm)
1/8" 24.5
1/4" 24.5
3/8" 24.5
1/2" 24.5