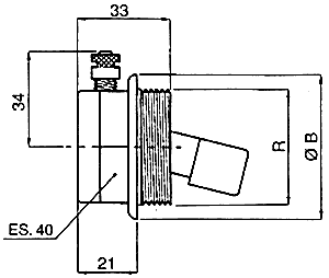
Art.5720
Légtelenitő fekvő



Technikai adatok
R B
(mm)
G 1" 46
G 1 1/4" 52